Product Summary
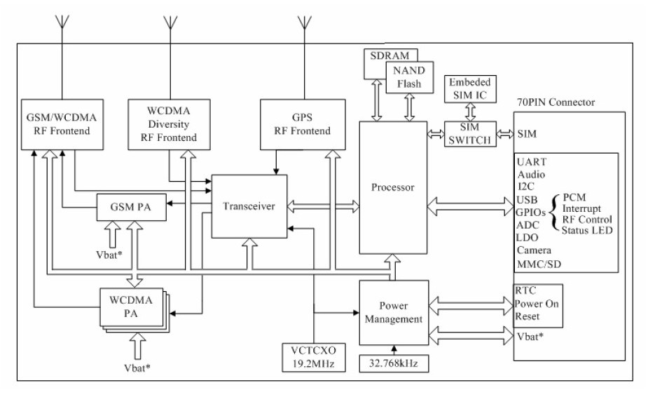
The IM5216E is a quad-band GSM/GPRS/EDGE and UMTS engine that works on frequencies of GSM 850MHz, EGSM 900MHz, DCS 1800MHz, PCS 1900MHz, and WCDMA 2100M/1900M/900M. The SIM5218E provides GPRS multi-slot class 12/class10/class 8(optional) capability and EDGE, supports the GPRS coding schemes CS-1, CS-2, CS-3 and CS-4. The SIM5218E is integrated with the TCP/IP protocol, extended TCP/IP AT commands are developed for customers to use the TCP/IP protocol easily, which is very useful for those data transfer applications.
Parametrics
IM5216E absolute maximum ratings: (1)Peak current of power supply: 0 to 3.0 A; (2)RMS current of power supply(during one TDMA-frame): 0 to 0.9 A; (3)Voltage at digit pins: -0.3 to 3.0 V; (4)Voltage at analog pins: -0.3 to 3.0 V; (5)VOltage at digit/analog pins in power down mode: -0.25 to 0.25V; (6)Voltage at VBAT: -0.3 to 4.4V.
Features
IM5216E features: (1)Power supply: single supply voltage 3.4V to 4.2V; (2)Power saving: typical power consumption in SLEEP mode to 4.0mA(DRX=2); (3)Frequency bands: GSM: 850M/900M/DCS 1800M/PCS 1900M; WCDMA: 2100M/1900M/900M; The SIM5218E can worked in GSM and WCDMA mode; The frequency bands also can be set by AT COMMAND.
Diagrams

![]() |
![]() SIM508 |
![]() Other |
![]() |
![]() Data Sheet |
![]() Negotiable |
|
||||
(China (Mainland))








