Product Summary
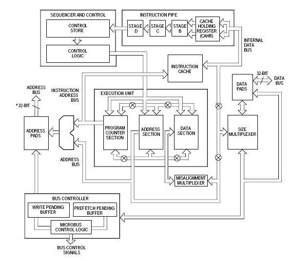
The MC68040FE33A is the first full 32-bit implementation of the M68000 family of microprocessors from Motorola. Using VLSI technology, the MC68040FE33A is implemented with 32-bit registers and data paths, 32-bit addresses, a rich instruction set, and versatile addressing modes. The MC68040FE33A is object-code compatible with earlier members of the M68000 family and has the added features of new addressing modes in support of high-level languages, an on-chip instruction cache, and a flexible coprocessor interface with full IEEE floating-point support.
Parametrics
MC68040FE33A absolute maximum ratings: (1)Supply Voltage,VCC:-0.3 to +7.0 V; (2)Input Voltage,Vin:-0.5 to +7.0 V; (3)Operating Temperature Range:Minimum Ambient Temperature:0°C;Maximum Ambient Temperature PGA, PPGA, PQFP:70°C;Maximum Junction Temperature CQFP:110°C; (4)Storage Temperature Range,Tstg:-55 to 150 °C.
Features
MC68040FE33A features: (1)Object-Code Compatible with Earlier M68000 Microprocessors; (2)Addressing Mode Extensions for Enhanced Support of High-Level Languages; (3)New Bit Field Data Type Accelerates Bit-Oriented Applications—e.g., Video Graphics; (4)An On-Chip Instruction Cache for Faster Instruction Execution; (5)Coprocessor Interface to Companion 32-Bit Peripherals—the MC68881 and MC68882 Floating-Point Coprocessors and the MC68851 Paged Memory Management Unit; (6)Pipelined Architecture with High Degree of Internal Parallelism Allowing Multiple Instructions To Be Executed Concurrently; (7)High-Performance Asynchronous Bus Is Nonmultiplexed and Full 32 Bits; (8)Dynamic Bus Sizing Efficiently Supports 8-/16-/32-Bit Memories and Peripherals; (9)Full Support of Virtual Memory and Virtual Machine; (10)Sixteen 32-Bit General-Purpose Data and Address Registers; (11)Two 32-Bit Supervisor Stack Pointers and Five Special-Purpose Control Registers; (12)Eighteen Addressing Modes and Seven Data Types; (13) 4-Gbyte Direct Addressing Range for the MC68020CRC25E; (14)16-Mbyte Direct Addressing Range for the MC68040FE33A; (15)Selection of Processor Speeds for theMC68040FE33A: 16.67, 20, 25, and 33.33 MHz; (16)Selection of Processor Speeds for the MC68020CRC25E:16.67 and 25 MHz.
Diagrams

| Image | Part No | Mfg | Description | ![]() |
Pricing (USD) |
Quantity | ||||||||
|---|---|---|---|---|---|---|---|---|---|---|---|---|---|---|
![]() |
![]() MC68040FE33A |
![]() Freescale Semiconductor |
![]() Microprocessors (MPU) 32B W/ CACHE MMU FPU |
![]() Data Sheet |
![]()
|
|
||||||||
| Image | Part No | Mfg | Description | ![]() |
Pricing (USD) |
Quantity | ||||||||
![]() |
![]() MC6800 |
![]() Other |
![]() |
![]() Data Sheet |
![]() Negotiable |
|
||||||||
![]() |
![]() MC6801 |
![]() Other |
![]() |
![]() Data Sheet |
![]() Negotiable |
|
||||||||
![]() |
![]() MC68020 |
![]() Other |
![]() |
![]() Data Sheet |
![]() Negotiable |
|
||||||||
![]() |
![]() MC68020CEH16E |
![]() Freescale Semiconductor |
![]() Microprocessors (MPU) 32-BIT MPU |
![]() Data Sheet |
![]() Negotiable |
|
||||||||
![]() |
![]() MC68020CEH25E |
![]() Freescale Semiconductor |
![]() Microprocessors (MPU) 32-BIT MPU |
![]() Data Sheet |
![]() Negotiable |
|
||||||||
![]() |
![]() MC68020CRC16E |
![]() Freescale Semiconductor |
![]() Microprocessors (MPU) 32-BIT MPU |
![]() Data Sheet |
![]() Negotiable |
|
||||||||
(China (Mainland))










